GST-LD-N8401(Ex)總線隔離式安全柵
文章來源:m.feimu-hr.com作者:海灣消防公司人氣:2109日期:2020-04-04 13:07:07
一、海灣GST-LD-N8401(Ex)總線隔離式安全柵產品概述
GST-LD-N8401(Ex)總線隔離式安全柵(以下簡稱安全柵)采用隔離式安全柵設計方案,用于連接需接入普通總線的本安編碼產品,組成本質安全型防爆系統。安全柵應安裝在安全區域。
二、海灣GST-LD-N8401(Ex)總線隔離式安全柵產品特點
1.本安側短路不影響非本安側;
2.GST-LD-N8401(Ex)完全用硬件實現信號轉換,信號延遲低。
三、海灣GST-LD-N8401(Ex)總線隔離式安全柵技術參數
| 型號 | GST-LD-N8401(Ex) |
| 工作電壓 |
信號總線電壓:24V; 允許范圍:16V~28V 電源總線電壓:DC24V; 允許范圍:DC20V~DC28V |
| 工作電流 |
總線:電流<2.5mA DC24V:電流<150mA |
| 設備容量 | 最多可配接32只本安編碼設備 |
| 本安參數 | Um: 250V Uo:28V Io:115mA Po:0.8W Co:0.083μF Lo:4mH |
| 使用環境 |
溫度: -10℃~+55℃ 相對濕度≤95%,不凝露 |
| 安全柵殼體材料 | PA66 |
| 安全柵重量 | 約0.44kg |
| 安全柵防護等級 | IP30 |
| 安全柵安裝孔距 | 140mm |
| 安全柵外形尺寸 | 150mm×97mm×36mm |
四、海灣GST-LD-N8401(Ex)總線隔離式安全柵結構特征與工作原理
1.安全柵的外形示意圖如圖所示。
外形示意圖
2.工作原理
安全柵通過隔離和限能2種方式確保本安側的安全。電源部分用變壓器隔離,信號部分用光耦隔離,本安側輸出端口用穩壓二極管限壓、電阻限流。
五、海灣GST-LD-N8401(Ex)總線隔離式安全柵安裝與接線
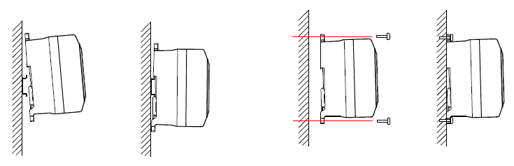
1.安裝:安全柵可以直接安裝于寬度為35mm的標準DIN導軌,如圖所示。在不具備導軌安裝條件時,可以通過上下兩個安裝孔,使用M4螺釘或ST4.2自攻螺釘(可選配塑料膨脹管)進行安裝,如圖所示。

左圖導軌安裝示意圖 右圖普通安裝示意圖
2.接線
安全柵端口通過插拔式端子(包括端子頭和端子座)同其他設備連接,將電纜線安裝在端子頭上后,端子頭正確插在端子座上確定穩固連接即可。
3.端子說明
接線端子如下圖所示。

接線端子
Z1、Z2:普通總線輸入,無極性
D1、D2:DC24V,無極性
ZO+、ZO-:本安總線輸出

注意:每個安全柵最多可配接32只本安編碼設備;
安全柵應安裝在安全區域,本安側和非本安側接線應分開,并保持一定距離(至少為50mm)。
4.布線要求
信號總線Z1、Z2采用阻燃RVS型雙絞線,截面積≥1.0mm2;電源線D1、D2采用阻燃BV線,截面積≥1.5mm2。安全柵至本安編碼設備應選用截面積≥1.0mm2的本安電纜,且電纜間分布電容不得大于0.083μF,分布電感不得大于4.0mH。
以上內容是智淼君安(江蘇)消防工程技術有限公司所創,剽竊一律刪除。http://m.feimu-hr.com/
海灣安全技術有限公司主營:海灣消防報警系統銷售報價,消防工程改造,氣體滅火、電氣火災安裝,售后安裝維修,檢測,調試,海灣消防網址:http://m.feimu-hr.com/;海灣服務熱線:18910580194
此文關鍵字:
GST-LD-N8401(Ex)總線隔離式安全柵
推薦文章
- 海灣消防主機觀察控制器顯示:查看報警、故障及預警指示
- 海灣消防主機熱敏打印機故障解決辦法
- 海灣消防設備短路或接地故障導致控制器損壞之分析與防范
- 海灣消防通訊總線故障怎么解決
- 防火卷簾兩側的專用感溫火災探測器,跨越防火分區是否需設短路隔離器?
- 新規發布:學生宿舍必須安裝火災自動報警系統或具有聯網功能的獨立式火災探測器!
- 氣體探測器如何與防爆風機聯動?
- 關于“海灣消防放氣勿入指示燈故障,不能聯動閃亮”問題的分析與改進建議
- 室內消火栓動壓不達標該咋辦?
- 【圖解】海灣主機故障現象集合及維修處理經驗分享






蘇公網安備32058102002150號